Здравствуйте, уважаемые читатели моего блога! Недавно я публиковал материал, в котором рассказывалось про выбор и подключение блока плавного включения ламп (блока защиты). В качестве одного из вариантов такого устройства был описан блок защиты галогенных ламп фирмы Feron.
Несмотря на свои недостатки и нестабильность работы по сравнению с белорусским блоком защиты Гранит, устройство Feron широко применяется как дополнительная “фишка” при монтаже ламп освещения.
Читайте также статью по установке и подключению точечных светильников, в которых широко применяются галогеновые лампы
В этой статье я опубликую фотографии устройства и электрическую схему блока защиты галогенных ламп Feron. В качестве примера взята модель Feron Pro11 мощностью 500 Вт.
Итак, еще раз, что представляет из себя это электронное устройство.
Устройство блока защиты
Вид сверху показан вначале публикации, а вот тот же блок защиты, только вид снизу:Вскрываем блок, видим очень простое конструктивно устройство, в состав которого входит печатная плата, на которой присутствует мощный управляющий симистор на радиаторе, и пластиковый корпус с прорезями для естественного охлаждения. Вот блок защиты ламп в разборе:
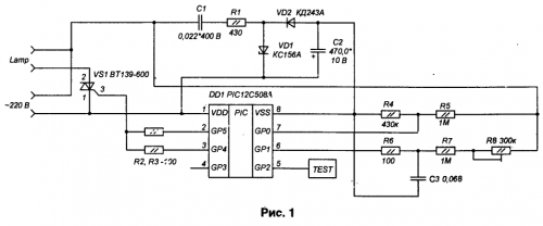
Схема электрическая блока защиты ламп
Так выглядит схема электрическая блока плавного включения ламп, собранная на плате:
Основа электронной схемы – PIC-контроллер, в который зашита программа управления силовым элементом – симистором. В разных моделях блока защиты встречаются контроллеры PIC12C508 и PIC12C509. Выбор варианта микросхемы контроллера никак не влияет на характеристики устройства, и видимо зависит только от наличия конкретных микросхем на заводе-изготовителе. Корпус – PDIP, 8 выводов.
Такие же контроллеры, но только в корпусе SOIC-8, применяются в блоках защиты ламп Гранит.
Даташит контроллера можно скачать прямо с блога SamElectric:
• PIC12C5XX / 8-Bit CMOS Microcontroller, pdf, 665 kB, скачан: 2530 раз./Итак главное, ради чего собственно затевалась эта статья – схема блока защиты ламп галогенных ламп Feron:
Принцип действия схемы блока защиты вкратце таков. При включении выключателя освещения блок защиты представляет собой разрыв, поскольку симистор закрыт. Соответственно, на выводы блока Х1 и Х2 подается питающее напряжение сети 220 Вольт.
Напряжение питания контроллера – постоянное, около 5 В – подается на выводы питания 1 (VDD) и 8 (VSS). Ограничение питающего напряжения обеспечивается цепью R1 – R2, выпрямление – диодом D1, фильтрация – электролитическим конденсатором С1, стабилизация – стабилитроном D2.
Как только напряжение питания достигает необходимого уровня, контроллер начинает работать с частотой тактовых импульсов, равной 50 Гц. Импульсы (если это можно назвать импульсами, но для работы цифровой схемы нужны именно импульсы) поступают через резистор большого сопротивления из питающей сети.
Контроллер выдает управляющее напряжение на управляющий электрод симистора через резистор R5. Симистор по заданной программе открывается, пропуская ток через цепь лампы, лампа плавно разгорается. Так происходит плавное включение.
В моделях блока защиты галогеновых ламп Ферон применяется совершенно одинаковая электрическая схема. И поскольку блоки отличаются только мощностью, единственное отличие – мощность (максимальный ток) симистора.
Какие симисторы применяются для какой мощности блока:
- BT134 (BT136) 600E – симистор на ток до 4 А, напряжение 600 В – мощность нагрузки 150 Вт;
- BT136 600E – 6 А, блок на 300 Вт
- BT137 600E – 8 А, блок на 500 Вт
- BT138 (BT139) 600E – 12 А (16А), блок на 1000 Вт
Даташиты с параметрами и схемами включения на эти симисторы:
• Симисторы для диммеров BT136-BT139 / Даташиты, pdf, , скачан: 15747 раз./Ремонт блоков защиты
Что касается ремонта блоков защиты, прежде всего выходит из строя именно этот симистор. Желательно при замене выбирать симистор на бОльший ток. Подробнее по неисправностям и ремонту – в статье по ремонту диммеров, которые по силовой части схемы практически не отличаются.
Какие идеи по улучшению стабильности работы блока? У кого есть опыт по ремонту и модернизации? Пишите в комментарии!
Если интересно, что я буду публиковать на блоге СамЭлектрик дальше – подписывайтесь на получение новых статей.
Обновление статьи от 3 августа 2013г.: По наводке читателей блога Андрея и nata16 публикую схемы устройства защиты ламп освещения из журнала Радиолюбитель. Автор – Александр Протопопов.
А также сам журнал, где в статье на странице 6 приведены эти схемы и подробно описан принцип действия.
• Журнал «Радиолюбитель», 2005, №6 / Журнал «Радиолюбитель», 2005, №6, rar, 1.71 MB, скачан: 3805 раз./









(11 оценок, среднее: 4,82 из 5)














Спасибо! Очеень своевременная схема! Мой муж в восторге! Ждём ещё…
Теперь две важные задачи – опубликовать схему блока защиты Гранит, которая сложнее. И разобраться, что можно сделать для улучшения качества Feron.
А когда будет опубликована схема блока защиты Гранит
В планах нет.
Для улучшения Feron, думается, можно заменить семистор на более мощный и прикрутить к нему радиатор.
Пробовал. Это приводит только к увеличению максимальной мощности нагрузки. Но к сожалению к повышению стабильности не приводит…
Стабильность заложена в прошивке, как я понимаю.
Еще глянуть в сторону стабилизации питания контроллера. Что там можно? Может добавить навесным монтажом MC7805CTG. К примеру.
Да, логично. Ведь питание контроллера не стабилизировано никак.
Кстати, в блоках защиты Гранит (Беларусская Ноотехника) что-то похожее на стабилизацию есть. Скоро планирую статью со схемой Гранита.
Заказал себе Feron, завтра заберу.
Впаяю в него симистор BT138-800E (у меня киловаттник прожектор), впаяю резистор 56K/2W параллельно выводам, чтобы неонка на выключателе горела в темном подъезде. И попробую воткнуть стабилизатор MC7805CTG в порядке эксперимента. Может быть придаст стабильности схеме.
2 лампы уже сгорело. Надо защититься. Лампы хоть и не сильно дороги, но лазить надо каждый раз на козырек подъезда, менять.
Надоело.
Да, симистор можно впаять помощнее – на работе схемы это не отразится, а нагрузку можно подключить более мощную.
Насчет резистора – сам пробовал, он нужен при работе с подсветкой, добавляет стабильности схеме, особенно если длинные провода и возможны наводки.
Вообще резистором лучше шунтировать любую нагрузку, которая включается через выключатель с подсветкой – см.https://www.samelectric.ru/lamp-osveshhenie/lyuminiscentnoe/lampa-morgaet.html
Ну и конечно удобнее всё это разместить в легко доступном месте.
Правильно ли я понимаю, что если использовать 5V стабилизатор MC7805CTG, то можно исключить стабилитрон. Вход стабилизатора к плюсу электролита С1, а выход на 1й вывод Vdd контроллера, перерезав штатную дорожку на плате. 2 вывод (GND) стабилизатора – на Vss контроллера.
Думаю лучше стабилитрон поставить на напряжение 7…9 Вольт, без него на вход кренки может поступать почти всё напряжение сети. Штатный конденсатор будет на входе стабилизатора, и желательно впаять электролит на 10…47 мкФ (и/или ещё керамический, против ВЧ помех)между выводами питания контроллера. Напишите, интересно, думаю улучшения будут!
Кстати, в блоках защиты Гранит (Беларусская Ноотехника) что-то похожее на стабилизацию есть. Скоро планирую статью со схемой Гранита.
Ждем новой статьи со схемой Гранита.
Пообщался с нашим электронщиком. Он посмотрел схему и сказал, что менять ничего не надо. Сам впаял мне в Feron резистор на 56K 2х ваттный.
Сегодня я прикрутил Feron на 1kW рядом с выключателем (он на наличнике двери в подъезде у нас висит). Разбежался и запрыгнул на козырек – поменял лампу в прожекторе.
Теперь надо ждать результатов, сколь времени она проживет.
У всех ламп сгорает не спираль, а прямой участок внутри одного из выводов лампы. Наверное самое тонкое место внутри лампы.
Понятно, Резистор в параллель с Фероном, симистор BT138-800E.
Будем ждать результат. Если по хорошему, теперь можно об этом не вспоминать несколько лет.
А как со стабильностью включения?
Докладываю о результатах.
Поставил блок защиты со впаянным резистором (для работы неонки). Лампа Светозар сгорела через 2 дня.
Снял ферон, выпаял стабилитрон, разорвал цепь питания контроллера (1я нога, 5V) и впаял в этот разрыв стабилизатор 7805. Лампа проработала 5 дней. Пропал эффект вспышки при включении питания. Вчера вечером лампа не зажглась. Думаю, что она опять сгорела. Не проверял, может и ферон накрылся. Сегодня-завтра куплю новую лампочку (поищу OSRAM). Если она проработает меньше месяца, тупо возьму мапу обычную на 150ватт, вкрячу в прожектор обычный патрон и так и оставлю.
Skiw была у меня такая проблема лампы горели как спички-после замены ламподержателя все нормализовалось.Прожектор у Вас наверняка китайский и как известно контакты у них у всех ни о чем-тонкие, хлипкие при нагреве сразу коробятся.Лампы от этого перегорают из за перекала контактов т.е становятся тонкими-малейший скачок и все.Я на своих заменил на отечественные с пружинками-тоже конечно не фонтан но по крайней мере на год хватает.
Согласен.
Основные причины перегорания таких ламп: загрязнение, плохой теплоотвод, а главное – плохой контакт, что приводит в перегреву.
В схеме, походу, ошибка… VD1, видимо, должен быть правее VD2. Так как нарисовано сейчас работать не должно.
ВМЕСТО стабилитрона ставить 7805 нельзя – сгорит почти наверняка.
Чтобы не сгорела, лучше поставить стабилитрон на 8-12В перед ней.
А вот то, что эффект вспышки пропал – хорошо… надо будет поэкспериментировать…
Добрый день! Подскажите, возможно ли доработать блок защиты галогенных ламп “Ферон” таким образом, чтобы он работал от бортовой сети автомобиля, то есть от постоянного тока в 12V?Такая необходимость возникла из-за того, что лампы ближнего света достаточно часто выходят из строя вследствие скачков напряжения.
Нет, такой блок совершенно не подходит. Во первых, он работает только от переменного напряжения (Управляющий элемент – симистор). Во-вторых, минимальное напряжения, при котором он работает нормально – 100 Вольт.
Попробуйте поискать схему по запросу “Плавное включение автомобильной лампы” или купить готовое устройство.
Вместо стабилитрона хорошо подходит параллельный стаб. TL431 и по 1кОм два резистора SMD напаять прям на ноги для 5Вольт стабилизации.
А чем TL431 в данном случае лучше стабилитрона? Напоминаю, что главная проблема этого блока – стабильность.
Лучше тем что это стабилизатор, и стабилизирует он на порядки лучше стабилитрона, другими словами – напряжение будет стоять как вкопанное, а по цене почти одинаково.
А как на схеме при включении ограничить выходное напряжение в районе 200 вольт?
Никак. По любому через примерно секунду будет байпас.
Только ограничивать обычными способами – трансформатор, автотрансформатор, делители, последовательные сопротивления.
А зачем? Лампы
горятбыстро перегорают?Хотя, можно поэкспериментировать с делением управляющего напряжения симистора. Но он будет непредсказуемо греться!
схема регулировки оборотов пылесоса самсунг. вместо переменного подбирается постоянный резистор.
Делал эксперимент с самодельным плавным включением ламп накаливания за 1-2 секунды. На выходе ограничивал напругу до 180-200 вольт. горели год. а без ограничения месяц-два.
сейчас поставил в прихожую галогенки и устройство Гранит-500. Мощность галогенок 300 вт. неделю не проходит, что бы не менял лампы. Наверное буду мутить самодельное устройство плавного разжига и ограничения напруги. Просто хочеться заводского исполнения доработать.
Подскажите пожалуйста, в ванной стоят точечные светильники с таким блоком и свет иногда плавно включается, а иногда мигает- приходится переклацивать включатель, но это не всегда помогает. Выключатель на всякий случай поменян- результат тот же, мигание не прекратилось. Из за чего такое может быть? Проблема в блоке или в чем то другом? По потолку рядом проложены провода на стиралку, бойлер и доп. свет зеркала- может помехи наводятся в блоке???
Нет, никаких помех и наводок. Блок сам по себе (скажем мягко) неудачный, об этом написано в статье.
Тут надо менять блок, на более надежный. Или блок выкинуть, и поставить светодиодные лампочки в те же патроны.
Похожая схема (на таком же контроллере) была опубликована в “Радиолюбитель” №6 2005г. стр. 6
Можно переделать данный блок под вторую схему из журнала.
Я ту схему собирал – нареканий нет.
В ванной взорвалась галогеновая лампа на 40 ватт. Купил сегодня в Леруа Мерлене блок защиты Uniel на 500 ватт (на 300 не было). Включил – жена посмотрела и сказала темно. Действительно примерно в 1,5 раза хуже стали лампочки светить (проверял коротким замыканием).
Снял этот блок. Отнести назад нельзя, т.к. при установке отломалась часть корпуса. Схема блока Uniel аналогична схеме Feron. Изменял сопротивления R5, R3 и R4. Падение напряжения на блоке практически не уменьшается.
Выше Андрей применил 2-ю схему из журнала “Радиолюбитель”, 2005, №6. А нельзя ли использовать в Feron(Uniel) 1-ю схему, т.к. там можно регулировать выходное напряжение?
Блок защиты вообще не должен давать падения напряжения. То есть, если при включенном освещении закоротить его выводы – на глаз освещённость не изменится.
Максимальное падение – 5 Вольт. (на сколько у вас падает?)Если больше – блок защиты будет греться, и его можно считать неисправным.
Симистор пробовали менять?
Схему конечно переделать можно, если есть желание.
С другой стороны – можно купить ещё один БЗ, и опробовать его, с возможностью вернуть по гарантии.
Программа в Feron скорее всего отличается от программы из Радио
Да, скорее всего. Программу для контроллера в Радиолюбителе можно скачать с radioliga.com, а вот как вытянуть из китайских Феронов – не знаю.
Решил проблему мигания изменив детали R4=430k R3=1M C3=1000пф С2-убрать, (можно еще заменить стабилитрон на кс156)
спасибо за ценную информацию! Эту переделку испытали на одном блоке или нескольких?
скажите пожалуйста а без этого устройства он что не будет гореть??
Гореть будет конечно, как обычно.
Просто блок защиты делает две полезны вещи – делает приятным момент включения и продлевает срок службы ламп.
Прочитайте другую статью про блок защиты ламп, я постарался всё изложить.
Спасибо за вопрос!
Спасибо автору за тему и Игорю за решение проблемы мигания! Переделал 7 блоков, все работают стабильно, немного увеличилась скорость загорания ламп.
Спасибо за отзыв! Этих блоков в продаже огромное количество, важно уметь их улучшать, раз китайцы не могут…
Нужна помощь! Собрал вторую схему блока из журнала “радиолюбитель”, выложенную на этом сайте. Проблема в следующем: В момент разгорания лампы очень сильно нагревается R1 1к и это при том что я поставил двух ватный, 0,25Вт вобще згорал. В общем нагрев происходит лишь в момент плавного пуска. Если раз 6 или 7 в подряд выключить и включить то R1 аж дымится. После открытия семистора, конечно же остывает. И всё это при нагрузке в 150Вт. Может в схеме есть ошибка или то что я описал, норма. Подскажите пожалуйста. Заранее спасибо!
Нужна помощь ! Поставил блок гранит 500 на люстру , вчера при сгорании лампы выбило пробки и сгорел блок гранит , похоже при сгорании лампы произошло кз, как защитить блок от кз ?
Да, есть такая проблема – при перегорании лампы она тянет большой ток, практически КЗ.
Гранит можно отремонтировать (заменить симистор, скорее всего сгорел только он).
А защититься от таких случаев – поставить автоматический выключатель (защитный автомат) на ток 1 или 2 Ампера. Это мощность 200 или 400 Ватт, на всю квартиру должно хватить.
Автомат лучше ставить категории В, он лучше отрабатывают КЗ.
Доброго времени суток! Разбираюсь с вашей статьёй уже не первый день… Вопросы: Где в 1-ой и 3-ей схемах подключается лампа? Какая должна быть программа для контролера? Можно её код?
Макар, в этих схемах 2 вывода, как в обычном выключателе.И включается блок защиты так же – в разрыв цепи питания.
При этом нуль/фаза значения не имеет, но лучше конечно включать согласно маркировке производителя и в разрыв фазы, чтобы потом не было путаницы.
По прошивке помочь не могу, в статье в конце можно скачать журнал, там есть прошивка.
я понимаю, но по схеме – где выводы к лампе? (как на 2-ой схеме)- скажите, где находиятся выходы на лампу… Просто не совсем ас в схемотехнике. Можно ссылку на журнал?
Блок защиты включается точно так же, как выключатель и диммер на 1й и 2й схемах в статье https://www.samelectric.ru/komponenty/regulyator-urovnya-yarkosti-dimmer.html
То есть два вывода блока защиты подключаются ТОЧНО ТАКЖЕ, как 2 вывода обычного выключателя.
А ссылка на журнал – в конце этой статьи, после последней схемы.
Удачи!
Доброго времени суток. Плавное включение лампы достигается путём замены симистора ВТ13х 600С на симистор ВТА12-600С.
А без замены включение будет разве неплавным?
Симисторы эти – аналоги. ВТА от ВТ отличаются только тем, что у ВТА корпус изолирован от вывода Т2.
Но всё равно, спасибо за комментарий!))
С симистором BTA12-600C пропала вспышка при включении.
Интересно, не знал.
Видимо, какие-то параметры симистора влияют на стабильность работы. Буду иметь ввиду.
А может, просто пропайка помогла?
Нет, дело не в пайке. Впаивал назад BT136 600E – вспышка при включении появляется, перепаиваю на ВТА12-600С вспышка при включении пропадает.
Симисторы взаимозаменяемы для блоков разной мощности ? т.е можно поставить например в блок на 100 ватт более мощный симистор или есть ньюансы по другим деталям : другие номиналы сопротивлении, кондёров и т.д. и т.п ?
для того чтобы работала неонка в выключателе куда припаять резистор нужно и какого номинала и вида ?
можно ли в данный блок добавить и куда держатель для обычного плавкого предохранителя – чтобы если что сгорад предохранитель , а не блок и какой номинал лучше ставить ? какое ваше мнение ?
Спасибо за хорошие вопросы.
Симисторы можно ставить любые, главное чтобы корпус был тот же, и ток симистора был тот же или выше. Это не как с транзисторами, когда при замене на более мощный надо резисторами подбирать режим.
То есть, выключатель исходно без подсветки? Параллельно контактам. Неонку последовательно с резистором 1-2 МОм. Или светодиод, с резистором 330-750 кОм (экспериментально). Резистор любой, мощностью не менее 0,25 Вт.
Конечно можно, последовательно с блоком. Ток предохранителя – 2-3-4 Ампера, в зависимости от мощности ламп. Или поставить автоматический выключатель на тот же ток, лучше с характеристикой В.
Если поставить симистор соответствующей мощности, то возможно ли использование блока для защиты ТЭНов для водонагревателя?
Можно, только смысла особого не вижу. ТЭНЫ надо защищать защитным автоматом, и УЗО (это уже защита людей)
Если хотите регулировать – можно использовать обычный диммер.
Автомат сработает когда ТЭН сгорит. А диммер на 2 кВт- это уже необычный диммер. Александр, может посоветуешь что нибудь по существу.В парогенераторе использую нетиповые ТЭНы, поэтому горят часто.
Защищать ТЭН не имеет смысла, защищать надо людей от поражения током, или провода от перегрева.
А ТЭНу надо продлевать срок работы – умягчение воды, защита от сухого хода, и т.д.
Пусковых токов у них нет, поэтому и плавное включение им по барабану)
Если ТЭН стоит 3700 руб (а их в парогенераторе 3 шт), то наверное имеет смысл установка защиты ТЭНов.
Подача воды- через фильтры.
Сухой ход исключен,а пусковой ток имеется и не малый.Поэтому и горят они в момент включения.Забегая вперед- сразу отвечу: перекос фаз не более 5%, напруга по фазам-220=230В
Защитить от КЗ, как я говорил, можно автоматом.
От перегрузки (вследствие перекоса фаз, либо понижения сопротивления одного из ТЭНов) – можно поставить мотор-автомат, либо тепловое реле типа РТЛ, выставив минимально возможный ток.
Но всё это не столько защитит, сколько даст информацию от том, что ТЭНы пора менять…
Увеличит ли срок службы ТЭНов плавное включение? У меня такой информации нет, думаю, что это не даст никакого эффекта. Может, проконсультироваться с производителями ТЭНов? Я сколько видел примеров включения ТЭНов – они просто включаются или через контактор, пример в калорифере, или через твердотельное реле.
Про пусковой ток ТЭНов мы видимо друг друга неправильно поняли. Я подразумеваю, что и в момент включения, и в любой другой момент работы потребляемый ток одинаков. Чего не скажешь, например, о двигателях, трансформаторах, и лампочках накаливания (во всех трёх случаях причины повышения тока при пуске разные).
А можно ли увеличить время розжига ламп (секунд до 15, например, или больше) заменой чего-либо, например конденсатора?
Думаю, можно. Не факт только, что увеличение яркости будет линейным.
Для этого предлагаю увеличить время подачи питания на контроллер блока задержки. Путём увеличения резистора R1 (например, до 10кОм) и конденсатора С1 (до 220 или 470 мкф)
Как сделаете – напишите, что получилось!
Резистор не могу поменять, в моём блоке резисторы маленькие такие, как на материнских платах компьютеров. А замена только конденсатора, даже на 1800 микрофарад ставил, никакого эффекта не даёт.
В любом случае, при выключении лампа гасится мгновенно, а я в курятник хотел приспособить, чтоб включался медленно и выключался так же. Чтоб куры успевали на насесты вскочить, да ко сну подготовиться.
БЗ с такими задачами не справится. Есть специальные контроллеры освещения для инкубаторов.
Либо можно использовать обычный диммер, и устраивать курам плавную смену суток вручную…
Инкубатор – немножко не то, в инкубатор яйца закладывают, чтоб цыплята вылупились. Там контроллер управляет температурным режимом, переворотом яиц и влажностью. Ну проветривает ещё установку, от модели зависит.
Вручную диммером можно, конечно. Но утром от 10 до 30 минут тратить на плавное утро, вечером тоже от 10 до 30 минут на плавный переход в ночь… Меня на одно утро не хватит, а не то что каждый день утром и вечером :)
Можно увеличить время розжига ламп перепрошив контроллер. Для этого нужно переписать программу прошивки контроллера и иметь программатор.
Есть ли схема для устройства\модуля плавного пуска с регулируемым временем пуска + возможность регулировать выходной уровень среза\мощности, с максимальной отсечкой не более 2%?
Обязательное условие схемы:
Аналогично данному модулю нужно что-бы схема после разрыва сразу при переподключении возобновляла плавный пуск с нуля\начала, что-бы в отличие от “гениальной” К1182ПМ1, где на влияющий на плавный пуск конденсатор нужно ставить сопротивление, что-бы разряжать ёмкость для повторного плавного пуска, сопротивление которое сильно занижает выходное напряжение (завышает отсечку\срез).
Это для освещения?
Тут нужен специальный заказ, в массовом производстве такого конечно не будет.
Поищите на сайте у cs-cs.net, он делал хитрую систему для театра. Или на сайтах радиолюбителей.
А вы точно в курсе актуальности подобных устройств?
Не только для ламп. Вы же знаете что те же диммеры можно использовать не только для ламп.
Я уже обыскал.
Не говорите загадками. Статья про освещение. Я тоже думал что устройство нужно для ламп.
Если для двигателя, то есть плавный пуск через Софтстартер или частотник.
Для ламп накаливания переменного сетевого тока.
Кстати, есть же димеры с плавным стартом, нажимные. Нажимаешь на него, и он плавно поднимает на уже выставленный уровень.
Нужен такой наиболее простой, но что-бы “нажимательный” включатель замыкал силовой контакт, иначе говоря подключал саму нагрузку.
Тут без симисторов либо тиристоров на выходе не обойтись.
Мощность большая? Думаю, если не более 2 кВт, то можно найти в продаже, и доработать по необходимости.
Есть электронные диммеры с контроллером, там много параметров можно устанавливать.
Без симисторов и не надо, пусть будет с симистором, с одним – не с двумя и не тремя.
Надо:
А. Плавный пуск с быстрым перезапуском и низким уровнем среза (не как в том что обсуждается, срез аш до 180в из 230в!).
Б. Регулирование уровня среза мощности от нуля до максимума.
В. Регулирование времени плавного пуска.
Г. Работа при подключении нагрузки.
Скажите можно ли доработать существующее устройство, чтобы не было такого сильного падения напряжения, так как у модели на 1000Вт на выходе из 230В остается 200В?
Падение напряжения возможно по двум причинам:
1. Сопротивление симистора в открытом состоянии не нулевое. Хотя, 30 Вольт – слишком. Можно попробовать поставить более мощный симистор, хотя не уверен.
2. Часть синусоиды всё-таки отрезается. Тогда надо экспериментировать с внешней обвязкой, сейчас сказать не могу.
Когда шунтируете Блок защиты, яркость и напряжение повышается?
Падение напряжения обусловлено поздним открыванием симистора. А оно нужно, чтобы обеспечить питание микроконтроллера, если симистор будет открываться сразу, то по исходной схеме питать микроконтроллер будет нечем и он не сможет открывать симистор. Вы увидите моргание лампы.
Доработать можно уменьшением конденсатора C3 или резистора R3, но перед этим обязательно нужно включить устройство не последовательно с нагрузкой, а так, как показано на рисунке Радиолюбитель_Схема1, т.е. по трем проводам. Иначе никак.
“Когда шунтируете Блок защиты, яркость и напряжение повышается?” – да
Господа, вспышка при включении это что? если это ОЧЕНЬ короткая вспышка, то проблема не в элементах (контроллер, симистор), а в самооткрывании симистора. Стандартно для исключения таких моментов ставится RC-цепь параллельно симистору.
Вот, чтоб не ставить RC-цепь, нужно применять симисторы серии ВТА12-xxxС. И вспышка при включении пропадет.
А какое у этих симисторов принципиальное отличие?
Полагаю, речь идет о т.н. встроенной снабберной цепочке, не позволяющей напряжению подняться выше максимального, что происходит из-за паразитной или естественной индуктивности и приводит как минимум к самооткрыванию симистора или к его преждевременной смерти.
Для симистора в качестве снаббера используется обычно либо RC-цепь, либо варистор, либо используется симистор со встроенной цепочкой (естесственно таковой дороже).
Обязательно использовать снаббер, если нагрузка индуктивная (двигатель, трансформатор). Для лампы или нагревателя желательно использовать только если имеются длинные провода, могущие дать паразитную индуктивность.
В данном случае вспышка при включении наврядли вызвана самооткрыванием. Скорее всего связана с неустойчивой работой МК. Кстати, в самом начале статьи есть комментарий переделки для устранения вспышки. Сам не пробовал, но если верить следующим коментариям, уже несколько устройств исправно работают.
Назначение снабберной RC-цепи – уменьшить dU/dt. Так что ставить ее надо всегда. Если не ставить, то ничего не сгорит, просто иногда самооткрывание происходит.
видимо автор имел ввиду серию ВТА12-хххW, с маленькой встроенной RC-цепью. Однако даташит однозначно говорит, что для нагрузки с повышенной индуктивностью этой цепи мало, всеравно надо ставить внешнюю.
ха, а прошивку пика где взять?
http://radioliga.com/insert_2005/CODE509A.zip
Устройство полной защиты ламп освещения.
Автор – Александр Протопопов, г. Москва.
Радиолюбитель, №6/2005, стр. 6-7.
Замена симистора ничего не дала, сделал схему
http://www.q-r-x.ru/bp/oh_tl.htm
резистор керамика, реле от ups. Если кому надо, есть разводка платы.
Как результат? работает? погоняйте недельку другую, потом можно говорить о надежности. А вообще использование элементов с многократной перегрузкой – как минимум пожароопасно.
Тут схема и плата, в конструкцию внесен многоразовый термопредохранитель. Опасности нет, та как резистор керамический большой мощности, на нем сверху смонтирован предохранитель и время разогрева меньше 2 секунд, а дальше он остывает.
Схема работает много месяцев, все в порядке. Непривычно щелкает реле поначалу.
ex.ua/105650231
Короткая вспышка при включении исчезла при замене симистора на BTA16 600B. Проверено на 4 блоках TDM БЗ-150.